Radio
Equipment & Supplies
Robertson ~ Cataract
Electric Company

Nigara - Elmwood & Mohawk
Buffalo, New York
Catalogue No. 22 (1922-1923)

The Rotary Chopper, PX-1638


Chopper originally owned by W5AMA during the early 1920's, now in the
collection of John Dilks, K2TQN.           (Click on photo for another view.)

   

L ong experience in the use of audio frequency buzzers to modulate the output of a tube set to produce damped wave trains has proven that this method is not entirely satisfactory, principally for the reasons that the operation of the buzzer is not constant, necessitating frequent adjustment, and that great care is required in adjusting the circuit to obtain 100 per cent. modulation.

The Rotary Chopper, PX-1638, has been developed primarily to overcome the above objections. It may, however, be used in numerous circuits for this or other purposes where an interrupter is required. When used to secure I. C. W. telegraphy, the motor-driven interrupter, or rotary grid chopper, has the following inherent advantages over the other methods:

    (a) Gives positive interruption, requiring no adjustments. The note obtained can be varied to any desired pitch by changing the driving motor speed.

    (b) This system of securing damped wave trains does not require modulating tubes, the interrupter being used in series with the transmitting key.

    (c) The system inherently gives 100 per cent. modulation, since oscillations can be completely started and stopped at audio frequencies.

    (d) The output obtained from a given number of oscillators is in general greater than if some of the tubes are used as modulators.

    The equipment includes the following parts:

    (a) Interrupter Wheel, Model PX-1638.

    (b) Two Bushings, so that the wheel may be mounted on motor shafts ¼ in., 5/16 in., or 3/8 in. diameter.

    (c) Brush Holder and Brush.

The interrupter wheel is built with 34 conducting and 34 insulating segments, making 34 interruptions per revolution. The insulating segments are molded in a single piece.

    Motor-Driven Chopper, PX-1638 . . . . . . . . . . . $7.25
        Dimensions: 4 in.x 134 in.
        Shipping Weight: 3 lbs.
    Shaft Bushings, Model PX-1640, for 5/16 in. or

        PX-1641, ¼ in. Motor Shaft, . . . . . . . . . . . . . .   .20



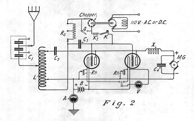
Transmitter for C.W. and I.C.W. (Grid Chopper).
Circuit for Operation from D.C. Supply with Radiotrons UV-202 or UV-203.

(Remember -- In general a grid chopper gives the same kind of a signal at the
receiving station as a spark set, but usually over much greater distances.)


LIST OF MATERIAL
Circuit
Symbol
RATING OF RADIOTRONS
5-WATT TUBES
50 -WATT TUBES
Model
Price
Model
Price
1 One or more RADIOTRON Power Tubes   UV-202 $8.00 each UV-203 $30.00 each
2 One or more RADIOTRON Tube Sockets   UR-542   1.00 UT-541   2.50
3 Oscillation Transformer
L
UL-1008
 11.00
UL-1008
11.00
4 Antenna Series Condenser
C1
UC-1015
  5.75
UC-1015
  5.75
5 Blocking Condenser
C2
UC-1014
  2.50
UC-1014
  2.50
6 Transmitter Grid Leak
Rg
UP-1719
  1.10
UP-1718
  1.65
7 Grid Condenser
C3
UC-1014
  2.50
UC-1014
  2.50
8 Transmitting Key
K
UQ-809
  3.00
UQ-809
  3.00
9 Chopper
Chopper
PX-1638
  7.25
PX-1638
  7.25
10 Radio Frequency Chokes
X
UL-1655
  3.85
UL-1655
  3.85
11 D C Filament Voltmeter
V
O-l5 Volts
0-16 Volts
12 Filament Rheostat
Rh
PR-535
  3.00
PT-537
  10.00
13 Filament Battery
B
10 Volts
12 Volts
14 Protective Condenser
C
UC-490
  2.50
UC-490
  2.50
15 Motor Generator
MG
(See Note 1)
(See Note 1)
16 Antenna Ammeter
A
UM-530
  6.00
UM-533
  6.25
17 Radio Frequency Choke
X1
UL-1655
  3.85
UL-1655
  3.85
I8 Switch for CW Telegraphy
S
S. P. S. T.
S. P. S. T.


Edited for the Web by John Dilks, K2TQN (c) Permission to reprint,
provided credit given to John Dilks, K2TQN, and http://www.eht.com/oldradio